Mack Rides ontwikkelt innovatieve attractie: combinatie van trackless darkride en rollercoaster
09-11-2025, 15.28 uur
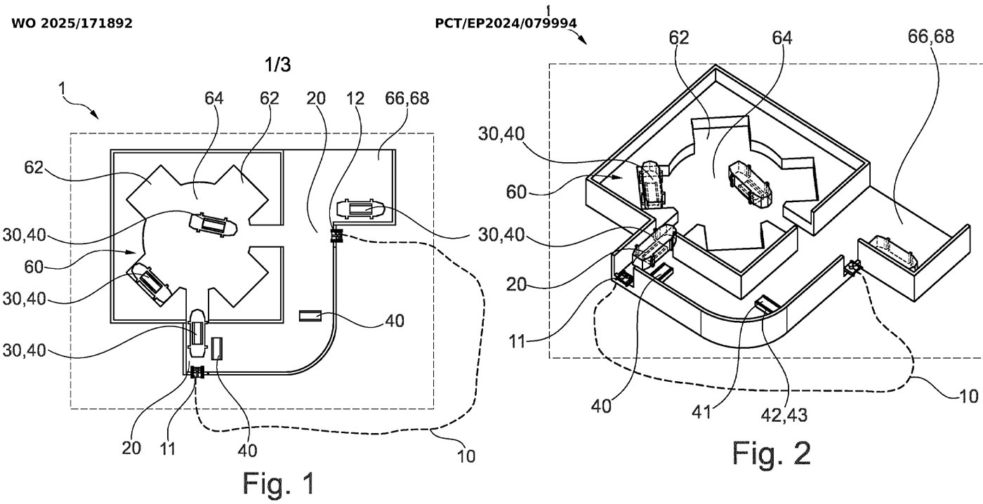
FOTO'S De Duitse attractiebouwer Mack Rides werkt aan een nieuw attractietype waarin een darkride en een rollercoaster worden samengevoegd. Dat blijkt uit een recent gepubliceerd patent met bijbehorende tekeningen. Te zien is hoe bezoekers eerst door showscènes rijden in een trackless voertuig.
Daarna wordt het karretje gekoppeld aan een ander voertuig, dat een achtbaanrail volgt. Het systeem maakt gebruik van een speciale koppelzone. Op dat punt verplaatst een zelfstandig rijdend transportvoertuig het passagiersvoertuig naar een railgedeelte - of andersom.
Daardoor kunnen darkridescènes en achtbaanstukken in één doorlopende rit worden gecombineerd, zonder dat bezoekers hoeven uit te stappen. De aanvraag toont verschillende mogelijke opstellingen. Een station kan meerdere instapplekken hebben en er kunnen één, twee of zelfs drie gescheiden baantrajecten naast elkaar liggen.
Locaties
Het patent noemt uiteraard geen toekomstige projecten, thema's of locaties: het document beschrijft uitsluitend de techniek achter het schakelen tussen trackless darkride en achtbaan in één systeem. Of Mack het concept daadwerkelijk gaat bouwen, blijft dus afwachten.



















